Minggu, 31 Mei 2020

33+ Grohe Kitchen Faucets Parts PNG

33+ Grohe Kitchen Faucets Parts PNG. Kitchen faucets engineered for style and innovation. About 4% of these are kitchen faucets, 2% are basin faucets, and 1% are bath & shower faucets.

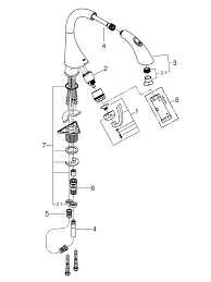
Grohe 33759sd0 Repair Parts
Grohe 33759sd0 Repair Parts from cloud.faucetshark.com
Alibaba.com offers 883 grohe kitchen faucets products. Grohe has become the standard by which faucets are measured, and that's in part due to their affordable prices. Get the best deal for grohe kitchen faucets from the largest online selection at ebay.com.

Grohe has become the standard by which faucets are measured, and that's in part due to their affordable prices.

More choice, more comfort and more flexibility: Available in groh's durable oil rubbed bronze finish, brushed nickel infinity finish and striking grohe starlight. Kitchen faucets pull down kitchen faucet reviews best kitchen faucets bathroom faucets shower hose kitchen handles soap dispenser plumbing home improvement. Kitchen faucets by hansgrohe are available in a variety of styles and functions to meet your specific needs.


Tidak ada komentar:

Posting Komentar

Follow Us @soratemplates